I will try to describe briefly how I am modelling the problem. (Please bear with the length). The governing equation describing temperature for a block at steady state is
$$\nabla^2 T = 0$$ where $\nabla^2 T = \frac{\partial^2}{\partial x^2} + \frac{\partial^2}{\partial y^2} + \frac{\partial^2}{\partial z^2}$ defined on $x \in [0,L] ,y \in [0,l], z \in [0,w]$ This is prescribed with the following boundary conditions
$\frac{\partial T(0,y,z)}{\partial x}=\frac{\partial T(L,y,z)}{\partial x}=0 \rightarrow Neumann$
$\frac{\partial T(x,0,z)}{\partial y}=\frac{\partial T(x,l,z)}{\partial y}=0\rightarrow Neumann$
$$\frac{\partial T(x,y,w)}{\partial z}=p_h\bigg(T_h - T(x,y,w)\bigg) \rightarrow Convection $$
$$\frac{\partial T(x,y,0)}{\partial z}=p_c\bigg(T_c -T(x,y,0) \bigg)\rightarrow Convection$$
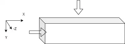
The situation can be better understood from the attached figure
Two fluids are in thermal contact with the separating wall and flow perpendicular to each other on either side of the wall. The inlet temperatures of both the fluids is known. Actually, there are two separate equations which govern them as
$\frac{\partial T_h}{\partial x} + \frac{b_h}{L} (T_h - T) = 0\rightarrow T_h=\frac{e^\frac{-b_h x}{L}b_h}{L}\int e^\frac{b_h x}{L}T\mathrm{d}x$
Known that : $T_h(0,y,-w)=T_{h,i} \rightarrow $ a constant
$\frac{\partial T_c}{\partial y} + \frac{b_c}{l} (T_c - T) = 0 \rightarrow T_c=\frac{e^\frac{-b_c y}{l}b_c}{l}\int e^\frac{b_c y}{l}T\mathrm{d}y$
Known that: $T_c(x,0,0)=T_{c,i} \rightarrow $ a constant
So,the quantities $T_h$ and $T_c$ can now be substituted in the original last two boundary conditions. For example, the last bc would now look like
$\frac{\partial T(x,y,0)}{\partial z}=p_c\bigg(\frac{e^\frac{-b_c y}{l}b_c}{l}\int e^\frac{b_c y}{l}T\mathrm{d}y -T(x,y,0) \bigg)$
Hence, this becomes a Robin type condition where all terms on the LHS and RHS are functions of $T$ (which is not analogous to any example I have encountered in textbooks, where such b.c. usually have a free stream temperature defined)
Attempt
I used:
$T(x,y,z)=\sum_{m,n=1}^{\infty}T_{nm}(z)\cos(\frac{n\pi x}{L})\cos(\frac{m\pi y}{l}).$
where $T_{nm}(z)$ is the undetermined $z$ function. Substituting this expression in $\nabla T^2 =0$, I obtain
$T_{nm}(z) = A_{nm}^{+}e^{\gamma z} + A_{nm}^{-}e^{-\gamma z} $ where $\gamma^2 = {(\frac{n\pi}{L})^2 + (\frac{m\pi}{l})^2 }$. Now, the undetermined coefficients are $A_{nm}^{+},A_{nm}^{-}$ which need to be determined using the $z$ boundary conditions.
Henceforth, the $z=0$ BC (using @Dyaln suggestion) , becomes
$$\frac{\partial T(x,y,0)}{\partial z} = p_c\bigg(e^{-b_cy/l}\left[T_{ci} + \frac{b_c}{l}\int_0^y e^{b_cs/l}T(x,s,z)ds\right] - T(x,y,0)\bigg) $$
On applying this boundary condition:
$$ \frac{1}{p_c}\sum_{n,m=1}^\infty \cos(\frac{n\pi x}{L})\cos(\frac{m\pi y}{l})\gamma ( A_{nm}^{+} - A_{nm}^{-}) = e^{-\frac{b_c y}{l}}T_{ci} + U + V - S - T $$
where
$U =\sum_{n,m=1}^\infty ( A_{nm}^{+} + A_{nm}^{-}) \frac{(b_c)^2}{(b_c)^2 + (m\pi)^2} \cos(\frac{n\pi x}{L})\cos(\frac{m\pi y}{l}) $
$V = \sum_{n,m=1}^\infty ( A_{nm}^{+} + A_{nm}^{-}) \frac{b_c m\pi}{(b_c)^2 + (m\pi)^2} \cos(\frac{n\pi x}{L})\sin(\frac{m\pi y}{l})$
$S = \sum_{n,m=1}^\infty ( A_{nm}^{+} + A_{nm}^{-}) \frac{(b_c)^2}{(b_c)^2 + (m\pi)^2} \cos(\frac{n\pi x}{L}) e^{\frac{-b_c y}{l}} $
$T = \sum_{n,m=1}^\infty ( A_{nm}^{+} + A_{nm}^{-})\cos(\frac{n\pi x}{L})\cos(\frac{m\pi y}{l})$
Subsequently, I would have to use the $z=w$ BC to get another equation in terms of $A_{nm}^{+}, A_{nm}^{-}$.
My question
(1) What I could not figure out till now is how to handle the exponential term while using orthogonality?
An approximation [Update]
From the physical problem at hand, one of the boundary conditions could be rewritten in an approximate from as
$$\frac{\partial T(x,y,w)}{\partial z}=p_h\bigg(\frac{T_{hi}+T_h(x=L)}{2} - T(x,y,w)\bigg)$$
$$\frac{\partial T(x,y,0)}{\partial z}=p_c\bigg(\frac{T_{ci}+T_c(x=l)}{2} - T(x,y,0)\bigg)$$
On using the suggestions of Dylan, the BC now takes the form
$$p_h^{-1}\frac{\partial T(x,y,w)}{\partial z} = \frac{1}{2}\bigg[T_{hi}(1+e^{-b_h}) + \frac{e^{-b_h}b_h}{L}\int_0^L e^{\frac{b_h s}{L}}T(s,y,z) \mathrm{d}s\bigg] - T(x,y,w)$$
$$p_c^{-1}\frac{\partial T(x,y,0)}{\partial z} = \frac{1}{2}\bigg[T_{ci}(1+e^{-b_c}) + \frac{e^{-b_c}b_c}{l}\int_0^l e^{\frac{b_c s}{l}}T(x,s,z) \mathrm{d}s\bigg] - T(x,y,0)$$
These BC(s) remove the dependence on the $e^{\frac{-b_c y}{l}}$ & $e^{\frac{-b_h x}{L}}$. Are these now solvable ?